| key | PART NO. | PART NAME | QTY | SERIAL NO. | 540 | 545 | 550 | REMARKS | ||
|---|---|---|---|---|---|---|---|---|---|---|
| 1 | 14M7298 | Flange Nut | AR | X | X | X | ||||
| 2 | DC35913 | Main Frame | 1 | X | X | |||||
| DC21392 | Main Frame | 1 | - | 295307 | ||||||
| DC32003 | Main Frame | 1 | 295308 | - | ||||||
| 3 | E63526 | Nut | 8 | X | X | X | ||||
| 4 | 19M7785 | Screw | 8 | X | X | X | ||||
| 5 | E65526 | Clamp | 2 | X | X | X | ||||
| 6 | AE42515 | Shield | 1 | X | ||||||
| 7 | E70406 | Screw | 2 | X | ||||||
| 8 | 24M7207 | Washer | 2 | X | ||||||
| key | PART NO. | PART NAME | QTY | SERIAL NO. | 540 | 545 | 550 | REMARKS | ||
| 9 | E70643 | Hinge | 2 | X | ||||||
| 10 | U15091 | Grommet | 2 | X | ||||||
| 11 | ...... | Frame | 1 | - | 301475 | |||||
| DC35844 | Frame | 1 | 301476 | - | ||||||
| ...... | Frame | 1 | - | 306326 | ||||||
| DC35845 | Frame | 1 | 306327 | - | ||||||
| DC35850 | Frame | 1 | - | 295307 | ||||||
| DC35827 | Frame | 1 | 295308 | - | ||||||
| 12 | 03M7183 | Bolt | AR | X | X | X | ||||
| 13 | AE42677 | Guide | 1 | X | X | X | ||||
| key | PART NO. | PART NAME | QTY | SERIAL NO. | 540 | 545 | 550 | REMARKS | ||
| 14 | DC22215 | Guard | 1 | X | X | X | ||||
| 15 | DC30693 | Bracket | 2 | X | X | |||||
| 16 | E70406 | Screw | 1 | X | X | |||||
| 17 | 03M7184 | Bolt | 1 | X | X | |||||
| 18 | 14M7166 | Lock Nut | 1 | X | X | |||||
| 19 | E78957 | Strap | 1 | X | X | |||||
| 20 | R64987 | Spring | 1 | X | X | |||||
| 21 | E72335 | Link Chain | 1 | X | X | |||||
| 22 | T60670 | Spring | 1 | X | X | |||||
| 23 | E61952 | Washer | 2 | X | X | 
| key | PART NO. | PART NAME | QTY | SERIAL NO. | 540 | 545 | 550 | REMARKS | 
|---|---|---|---|---|---|---|---|---|
| 1 | 14M7273 | Nut | 6 | X | X | |||
| 14M7273 | Nut | 8 | X | |||||
| 2 | 19M7162 | Cap Screw | 6 | X | X | |||
| 19M7162 | Cap Screw | 8 | X | |||||
| 3 | DC42517 | Guard | 1 | X | X | |||
| DC42518 | Guard | 1 | X | |||||
| 4 | 24M7055 | Washer | 6 | X | X | |||
| 24M7055 | Washer | 8 | X | 
| key | PART NO. | PART NAME | QTY | SERIAL NO. | 540 | 545 | 550 | REMARKS | ||
|---|---|---|---|---|---|---|---|---|---|---|
| 1 | 19M7387 | Cap Screw | 8 | - | 295307 | |||||
| 2 | E70739 | Strap | 2 | - | 295307 | |||||
| 3 | E70736 | Bushing | 8 | - | 295307 | |||||
| 4 | E70735 | Plate | 2 | - | 295307 | |||||
| 5 | 14M7170 | Lock Nut | 4 | - | 295307 | |||||
| 6 | AE42743 | Arm | 2 | - | 295307 | |||||
| 7 | 24M7053 | Washer | 4 | - | 295307 | |||||
| 8 | H94509 | Spring | 2 | - | 295307 | |||||
| 9 | AE42742 | Rod | 2 | - | 295307 | |||||
| 10 | P43660 | Spring Locking Pin | 2 | - | 295307 | |||||
| key | PART NO. | PART NAME | QTY | SERIAL NO. | 540 | 545 | 550 | REMARKS | ||
| 11 | 24H1254 | Washer | 2 | - | 295307 | |||||
| 12 | 14M7168 | Lock Nut | 8 | - | 295307 | |||||
| 13 | E70738 | Strap | 4 | - | 295307 | |||||
| 14 | AE48101 | Latch | 2 | - | 295307 | |||||
| 15 | E70737 | Bushing | 2 | - | 295307 | |||||
| 16 | 19M7395 | Cap Screw | 2 | - | 295307 | |||||
| 17 | CC55483 | Strap | 2 | - | 295307 | |||||
| 18 | CC55482 | Adjusting Strap | AR | - | 295307 | |||||
| 19 | 14M7296 | Flange Nut | 2 | - | 295307 | |||||
| 20 | 24M7178 | Washer | 2 | - | 295307 | |||||
| key | PART NO. | PART NAME | QTY | SERIAL NO. | 540 | 545 | 550 | REMARKS | ||
| 21 | 03M7195 | Bolt | 2 | - | 295307 | 
| key | PART NO. | PART NAME | QTY | SERIAL NO. | 540 | 545 | 550 | REMARKS | ||
|---|---|---|---|---|---|---|---|---|---|---|
| 1 | DC22887 | Latch | 1 | - | 295307 | |||||
| 2 | 14M7140 | Nut | 1 | - | 295307 | |||||
| 3 | 19M7181 | Cap Screw | 1 | - | 295307 | |||||
| 4 | A3581R | Spring Locking Pin | 1 | - | 295307 | 
| key | PART NO. | PART NAME | QTY | SERIAL NO. | 540 | 545 | 550 | REMARKS | ||
|---|---|---|---|---|---|---|---|---|---|---|
| 1 | DC33886 | Channel | 1 | 295308 | - | |||||
| 2 | CC33888 | Holder | 1 | 295308 | - | |||||
| 3 | DC28674 | Link Chain | 1 | 295308 | - | |||||
| 4 | CA21274 | Pin | 1 | 295308 | - | |||||
| 5 | A15147 | Spring Locking Pin | 1 | 295308 | - | |||||
| 6 | DA24361 | Link Chain | 1 | 295308 | - | |||||
| 7 | 19M7790 | Screw | 1 | 295308 | - | |||||
| 8 | 19M7814 | Screw | 1 | 295308 | - | |||||
| 9 | 14M7299 | Flange Nut | 2 | 295308 | - | |||||
| 10 | 14M7168 | Lock Nut | 1 | 295308 | - | 
| key | PART NO. | PART NAME | QTY | SERIAL NO. | 540 | 545 | 550 | REMARKS | ||
|---|---|---|---|---|---|---|---|---|---|---|
| 1 | 19M7387 | Cap Screw | 8 | 295308 | - | |||||
| 2 | E70739 | Strap | 2 | 295308 | - | |||||
| 3 | E70736 | Bushing | 8 | 295308 | - | |||||
| 4 | E70735 | Plate | 2 | 295308 | - | |||||
| 5 | 14M7170 | Lock Nut | 2 | 295308 | - | |||||
| 6 | AE47766 | Strap | 2 | 295308 | - | |||||
| 7 | 24M7053 | Washer | 4 | 295308 | - | |||||
| 8 | H94509 | Spring | 2 | 295308 | - | |||||
| 9 | AE47740 | Rod | 2 | 295308 | - | |||||
| 10 | L40965 | Washer | 2 | 295308 | - | |||||
| key | PART NO. | PART NAME | QTY | SERIAL NO. | 540 | 545 | 550 | REMARKS | ||
| 11 | 24H1789 | Washer | 2 | 295308 | - | |||||
| 12 | 14M7168 | Lock Nut | 8 | 295308 | - | |||||
| 13 | E70738 | Strap | 4 | 295308 | - | |||||
| 14 | AE48101 | Latch | 2 | 295308 | - | |||||
| 15 | E70737 | Bushing | 2 | 295308 | - | |||||
| 16 | 19M7395 | Cap Screw | 2 | 295308 | - | |||||
| 17 | 03M7195 | Bolt | 2 | 295308 | - | |||||
| 18 | CC55483 | Strap | 2 | 295308 | - | |||||
| 19 | CC55482 | Adjusting Strap | 1 | 295308 | - | |||||
| 20 | 24H1450 | Washer | 2 | 295308 | - | |||||
| key | PART NO. | PART NAME | QTY | SERIAL NO. | 540 | 545 | 550 | REMARKS | ||
| 21 | 14M7170 | Lock Nut | 2 | 295308 | - | |||||
| 22 | JD7844 | Lubrication Fitting | 2 | 295308 | - | |||||
| 23 | E78950 | Channel | 2 | 295308 | - | |||||
| 24 | 03M7185 | Bolt | 2 | 295308 | - | |||||
| 25 | AE47843 | Pin | 2 | 295308 | - | |||||
| 26 | 28H3392 | Washer | 2 | 295308 | - | |||||
| 27 | 24H1293 | Washer | 2 | 295308 | - | |||||
| 28 | 14M7166 | Lock Nut | 2 | 295308 | - | |||||
| 29 | 24M7178 | Washer | 2 | 295308 | - | |||||
| 30 | 14M7296 | Flange Nut | 2 | 295308 | - | 
| key | PART NO. | PART NAME | QTY | SERIAL NO. | 540 | 545 | 550 | REMARKS | 
|---|---|---|---|---|---|---|---|---|
| 1 | CC33253 | Holder | 1 | X | X | X | ||
| 2 | Z40822 | Knob | 1 | X | X | X | ||
| 3 | CC33255 | Holder | 1 | X | X | X | ||
| 4 | CC23844 | Spring Locking Pin | 1 | X | X | X | ||
| 5 | CC33254 | Holder | 1 | X | X | X | ||
| 6 | 19M7166 | Cap Screw | 2 | X | X | X | ||
| 7 | 14M7274 | Nut | 2 | X | X | X | 
| key | PART NO. | PART NAME | QTY | SERIAL NO. | 540 | 545 | 550 | REMARKS | ||
|---|---|---|---|---|---|---|---|---|---|---|
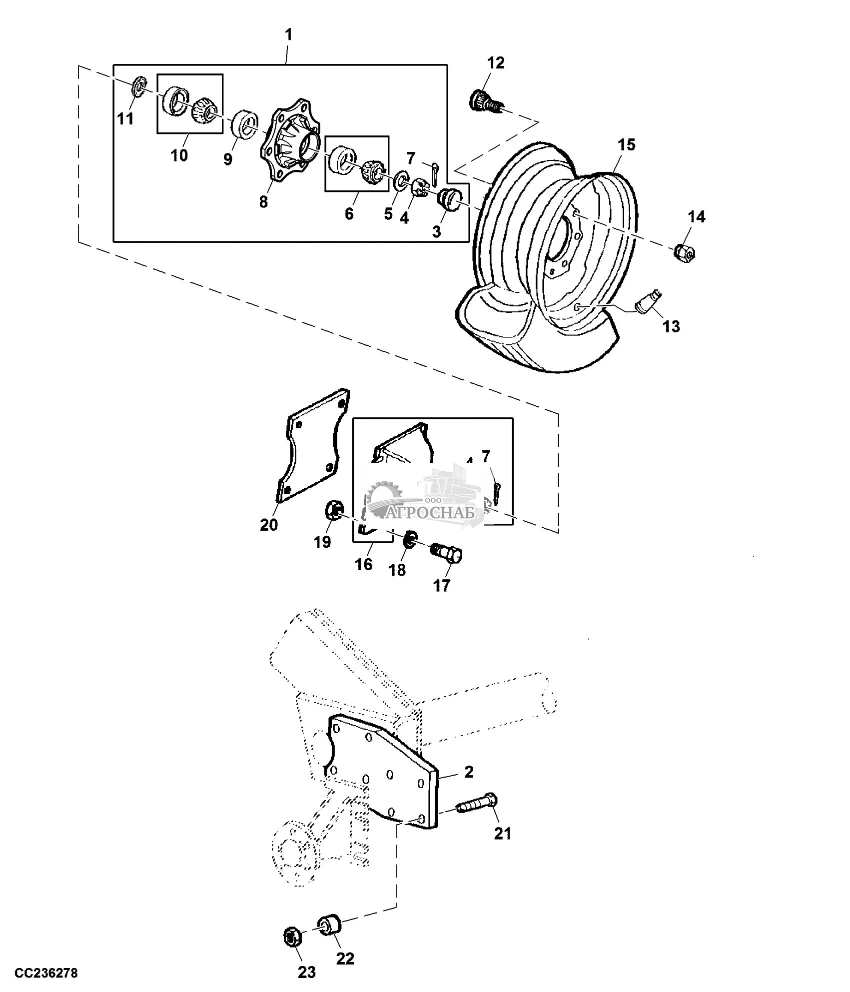
| 1 | CC33375 | Spindle | 2 | 300789 | - | |||||
| 2 | E50607 | Seal | 2 | 300789 | - | |||||
| 3 | JD9602 | Bearing Cone | 2 | 300789 | - | |||||
| 4 | JD9159 | Bearing Cup | 2 | 300789 | - | |||||
| 5 | JD8225 | Bearing Cup | 2 | 300789 | - | |||||
| 6 | AE33943 | Hub | 2 | 300789 | - | |||||
| 7 | JD8187 | Bearing Cone | 2 | 300789 | - | |||||
| 8 | CC109590 | Washer | 2 | 300789 | - | |||||
| 9 | 14H875 | Nut | 2 | 300789 | - | |||||
| 11 | 11M7087 | Cotter Pin | 2 | 300789 | - | |||||
| key | PART NO. | PART NAME | QTY | SERIAL NO. | 540 | 545 | 550 | REMARKS | ||
| 12 | DC27041 | Wheel | 2 | X | ||||||
| 13 | DC17713 | Tire | 2 | X | ||||||
| 14 | DC25973 | Rim | 2 | X | ||||||
| 15 | AM30347 | Tire Valve Stem | 2 | X | ||||||
| 16 | JD22 | Wheel Bolt | 12 | X | ||||||
| 17 | CC27043 | Spindle | 2 | - | 300788 | |||||
| 18 | CC24290 | Deflector | 2 | - | 300788 | |||||
| 19 | ...... | Hub | 2 | - | 300788 | |||||
| 20 | DC22568 | Tapered Roller Bearing | 2 | - | 300788 | |||||
| 21 | E10911 | Snap Ring | 2 | - | 300788 | |||||
| key | PART NO. | PART NAME | QTY | SERIAL NO. | 540 | 545 | 550 | REMARKS | ||
| 22 | CC28425 | Disk Spring | 2 | - | 300788 | |||||
| 23 | 14M7174 | Lock Nut | 2 | - | 300788 | |||||
| 24 | ...... | Cover | 2 | - | 300788 | 
| key | PART NO. | PART NAME | QTY | SERIAL NO. | 540 | 545 | 550 | REMARKS | ||
|---|---|---|---|---|---|---|---|---|---|---|
| 1 | AE44159 | Spindle | 2 | - | 258612 | |||||
| AE45370 | Spindle | 2 | 258613 | - | ||||||
| AE44159 | Spindle | 2 | - | 261340 | ||||||
| AE45370 | Spindle | 2 | 261341 | - | ||||||
| 2 | E50607 | Seal | 2 | X | X | |||||
| 3 | JD9602 | Bearing Cone | 2 | X | X | |||||
| 4 | JD9159 | Bearing Cup | 2 | X | X | |||||
| 5 | JD8225 | Bearing Cup | 2 | X | X | |||||
| 6 | AE33943 | Hub | 2 | X | X | |||||
| 7 | JD8187 | Bearing Cone | 2 | X | X | |||||
| key | PART NO. | PART NAME | QTY | SERIAL NO. | 540 | 545 | 550 | REMARKS | ||
| 8 | CC109590 | Washer | 2 | X | X | |||||
| 9 | 14H875 | Nut | 2 | X | X | |||||
| 10 | 32169 | Cap | 2 | X | X | |||||
| 11 | DC13880 | Rim And Wheel Center | 2 | X | X | |||||
| JD3219 | Rim | 2 | X | X | ||||||
| 12 | DC17710 | Tire | 2 | X | X | |||||
| 13 | AM30347 | Tire Valve Stem | 2 | X | X | |||||
| 14 | DC17444 | Tire And Wheel Assembly | 2 | X | X | |||||
| 15 | JD22 | Wheel Bolt | 12 | X | X | |||||
| 16 | 11M7087 | Cotter Pin | 2 | X | X | |||||
| key | PART NO. | PART NAME | QTY | SERIAL NO. | 540 | 545 | 550 | REMARKS | ||
| 17 | 14M7276 | Nut | 8 | X | X | |||||
| 18 | 19M7952 | Cap Screw | 8 | X | X | |||||
| 19M7675 | Cap Screw | 4 | X | X | ||||||
| 19 | 24H1367 | Washer | 8 | X | X | |||||
| 20 | CC28288 | Plate | 1 | X | X | 
| key | PART NO. | PART NAME | QTY | SERIAL NO. | 540 | 545 | 550 | REMARKS | 
|---|---|---|---|---|---|---|---|---|
| 1 | CC38583 | Plate | 1 | X | ||||
| CC38584 | Plate | 1 | X | |||||
| 2 | 19M7397 | Cap Screw | 8 | X | ||||
| 19M7847 | Screw | 8 | X | |||||
| 3 | 24H1367 | Washer | 8 | X | ||||
| 4 | 14M7276 | Nut | 8 | X | ||||
| 5 | CC38040 | Spacer | 8 | X | 
| key | PART NO. | PART NAME | QTY | SERIAL NO. | 540 | 545 | 550 | REMARKS | 
|---|---|---|---|---|---|---|---|---|
| 1 | DC48598 | Hub | 2 | X | X | |||
| 2 | CC38584 | Plate | 2 | X | X | |||
| CC38583 | Plate | 2 | X | X | ||||
| 3 | CC36914 | Cap | 2 | X | X | |||
| 4 | CC37724 | Nut | 2 | X | X | |||
| 5 | CC109590 | Washer | 2 | X | X | |||
| 6 | JD37049 | Tapered Roller Bearing | 2 | X | X | |||
| 7 | 11M7032 | Cotter Pin | 2 | X | X | |||
| 8 | CC36911 | Hub | 2 | X | X | |||
| 9 | CC35426 | Spacer | 2 | X | X | |||
| key | PART NO. | PART NAME | QTY | SERIAL NO. | 540 | 545 | 550 | REMARKS | 
| 10 | JD37093 | Tapered Roller Bearing | 2 | X | X | |||
| 11 | CC37725 | Seal | 2 | X | X | |||
| 12 | CC37722 | Wheel Bolt | 12 | X | X | |||
| 13 | AM30347 | Tire Valve Stem | 2 | X | X | |||
| 14 | CC37723 | Nut | 12 | X | X | |||
| 15 | DC35504 | Rim And Wheel Center | 2 | X | X | |||
| 16 | DC37730 | Spindle | 2 | X | X | |||
| 17 | 19M7952 | Cap Screw | 8 | X | X | |||
| 19M7675 | Cap Screw | 8 | X | X | ||||
| 18 | 24H1367 | Washer | 8 | X | X | |||
| key | PART NO. | PART NAME | QTY | SERIAL NO. | 540 | 545 | 550 | REMARKS | 
| 19 | 14M7276 | Nut | 8 | X | X | |||
| 20 | CC38585 | Plate | 2 | X | X | |||
| 21 | 19M7397 | Cap Screw | 8 | X | X | |||
| 22 | CC38040 | Spacer | 8 | X | X | |||
| 23 | 14M7291 | Flange Nut | 8 | X | X | 
| key | PART NO. | PART NAME | QTY | SERIAL NO. | 540 | 545 | 550 | REMARKS | ||
|---|---|---|---|---|---|---|---|---|---|---|
| 1 | E70643 | Hinge | 2 | - | 278000 | |||||
| E70643 | Hinge | 2 | - | 279360 | ||||||
| 2 | DC21200 | Shield | 1 | - | 278000 | |||||
| DC21200 | Shield | 1 | - | 279360 | ||||||
| 3 | 03M7199 | Bolt | 2 | - | 278000 | |||||
| 03M7199 | Bolt | 2 | - | 279360 | ||||||
| 4 | E81171 | Support | 1 | - | 278000 | |||||
| E81171 | Support | 1 | - | 279360 | ||||||
| 5 | 24M7180 | Washer | 2 | X | X | |||||
| 6 | 14M7299 | Flange Nut | 14 | X | X | |||||
| key | PART NO. | PART NAME | QTY | SERIAL NO. | 540 | 545 | 550 | REMARKS | ||
| 7 | E54936 | Pressed Flanged Housing | 2 | - | 278000 | |||||
| E54936 | Pressed Flanged Housing | 2 | - | 279360 | ||||||
| 8 | JD9420 | Ball Bearing | 1 | - | 278000 | |||||
| JD9420 | Ball Bearing | 1 | - | 279360 | ||||||
| 9 | 03M7191 | Bolt | 6 | - | 278000 | |||||
| 03M7191 | Bolt | 6 | - | 279360 | ||||||
| 10 | 14M7296 | Flange Nut | 6 | - | 278000 | |||||
| 14M7296 | Flange Nut | 6 | - | 279360 | ||||||
| 11 | DC21158 | Hitch | 1 | - | 278000 | |||||
| DC20504 | Hitch | 1 | - | 279360 | ||||||
| key | PART NO. | PART NAME | QTY | SERIAL NO. | 540 | 545 | 550 | REMARKS | ||
| 12 | F2953R | Half Clamp | 3 | X | X | |||||
| 13 | 14M7166 | Lock Nut | 2 | X | X | |||||
| 14 | 19M7298 | Cap Screw | 1 | - | 278000 | |||||
| 19M7298 | Cap Screw | 1 | - | 279360 | ||||||
| 15 | CC19378 | Screw | 2 | - | 278000 | |||||
| E70406 | Screw | 2 | - | 279360 | ||||||
| 16 | ...... | Lock Nut | 2 | X | X | |||||
| 17 | BP13227 | Grommet | 1 | X | X | |||||
| 18 | CC20572 | U-Bolt | 1 | X | X | |||||
| 19 | 03M7187 | Bolt | 1 | X | X | |||||
| key | PART NO. | PART NAME | QTY | SERIAL NO. | 540 | 545 | 550 | REMARKS | ||
| 20 | 19M7790 | Screw | 8 | X | X | |||||
| 21 | 19M7789 | Screw | 8 | X | X | |||||
| 22 | 14M7168 | Lock Nut | 4 | X | X | 
| key | PART NO. | PART NAME | QTY | SERIAL NO. | 540 | 545 | 550 | REMARKS | ||
|---|---|---|---|---|---|---|---|---|---|---|
| 1 | DC25572 | Guard | 1 | X | ||||||
| DC25572 | Guard | 1 | 278001 | - | ||||||
| DC25572 | Guard | 1 | 279361 | - | ||||||
| 2 | E70406 | Screw | 2 | X | ||||||
| E70406 | Screw | 2 | 278001 | - | ||||||
| E70406 | Screw | 2 | 279361 | - | ||||||
| 3 | CC25602 | Hinge | 2 | X | X | X | ||||
| CC25602 | Hinge | 2 | X | X | X | |||||
| 4 | CC27786 | Strap | 2 | X | ||||||
| CC27786 | Strap | 2 | 278001 | - | ||||||
| key | PART NO. | PART NAME | QTY | SERIAL NO. | 540 | 545 | 550 | REMARKS | ||
| CC27786 | Strap | 2 | 279361 | - | ||||||
| 5 | DC30187 | Bracket | 1 | X | X | X | ||||
| 6 | 19M7790 | Screw | AR | X | X | X | ||||
| 7 | Z35679 | Link Chain | 1 | X | ||||||
| Z35679 | Link Chain | 1 | 278001 | - | ||||||
| Z35679 | Link Chain | 1 | 279361 | - | ||||||
| 8 | DC35160 | Tongue | 1 | X | ||||||
| DC35160 | Tongue | 1 | 278001 | - | ||||||
| DC35160 | Tongue | 1 | 279361 | - | ||||||
| 9 | 03M7187 | Bolt | 2 | X | X | X | ||||
| key | PART NO. | PART NAME | QTY | SERIAL NO. | 540 | 545 | 550 | REMARKS | ||
| 10 | 19M7789 | Screw | 8 | X | X | X | ||||
| 11 | F2953R | Half Clamp | 2 | X | X | X | ||||
| 12 | 14M7166 | Lock Nut | 2 | X | X | X | ||||
| 13 | 14M7299 | Flange Nut | 16 | X | X | X | ||||
| 14 | 14M7168 | Lock Nut | 4 | X | X | X | ||||
| 15 | ...... | Lock Nut | 2 | X | X | |||||
| 16 | BP13227 | Grommet | 1 | X | X | |||||
| 17 | CC20572 | U-Bolt | 1 | X | X | |||||
| 18 | 19M7269 | Cap Screw | 4 | X | ||||||
| 19 | 14M7166 | Lock Nut | 4 | X | ||||||
| key | PART NO. | PART NAME | QTY | SERIAL NO. | 540 | 545 | 550 | REMARKS | ||
| 20 | 19M7414 | Cap Screw | 3 | X | X | X | ||||
| 21 | DC20399 | Bracket | 1 | X | ||||||
| DC20399 | Bracket | 1 | 278001 | - | ||||||
| DC20399 | Bracket | 1 | 279361 | - | 
| key | PART NO. | PART NAME | QTY | SERIAL NO. | 540 | 545 | 550 | REMARKS | 
|---|---|---|---|---|---|---|---|---|
| 1 | DC21346 | Hitch | 1 | X | X | X | ||
| 2 | DC17978 | Hitch | 1 | X | X | X | ||
| 3 | CC18144 | Spring Pin | 1 | X | X | X | ||
| 4 | 14M7277 | Nut | AR | X | X | X | ||
| 5 | CC26456 | Lock Washer | AR | X | X | X | ||
| 6 | 19M7518 | Cap Screw | 2 | X | X | X | ||
| 7 | DC33836 | Hitch Plate | 1 | X | X | X | ||
| 8 | 19M7617 | Cap Screw | 2 | X | X | X | ||
| 9 | CC33835 | Wear Ring | 1 | X | X | X | ||
| 10 | CC33183 | Hitch Plate | 1 | X | X | X | ||
| key | PART NO. | PART NAME | QTY | SERIAL NO. | 540 | 545 | 550 | REMARKS | 
| 11 | ...... | Hitch Plate | 1 | X | X | X | ||
| 12 | DC37899 | Hitch Plate | 1 | X | X | X | 
| key | PART NO. | PART NAME | QTY | SERIAL NO. | 540 | 545 | 550 | REMARKS | 
|---|---|---|---|---|---|---|---|---|
| 1 | 11M7038 | Cotter Pin | 1 | X | X | X | ||
| 2 | CC18607 | Quick Lock Pin | 1 | X | X | X | ||
| 3 | DC31103 | Pin | 1 | X | X | X | ||
| 4 | DC30846 | Jack | 1 | X | X | X | ||
| 5 | 24H1625 | Washer | 1 | X | ||||
| 6 | E55363 | Knob | 1 | X | ||||
| 7 | E55367 | Push Nut | 1 | X | ||||
| 8 | AA27831 | Handle | 1 | X | ||||
| 9 | DC37645 | Jack | 1 | X | X | X | ||
| 10 | DC27608 | Link Chain | 1 | X | X | X | ||
| key | PART NO. | PART NAME | QTY | SERIAL NO. | 540 | 545 | 550 | REMARKS | 
| 11 | DC24150 | Crank | 1 | X | X | X | ||
| 12 | DC24152 | Thrust Bearing | 1 | X | X | X | ||
| 13 | 34M7040 | Spring Pin | 1 | X | X | X | 
| key | PART NO. | PART NAME | QTY | SERIAL NO. | 540 | 545 | 550 | REMARKS | 
|---|---|---|---|---|---|---|---|---|
| 1 | DC37645 | Jack | 1 | X | X | X | ||
| 2 | DC24152 | Thrust Bearing | 1 | X | X | X | ||
| 3 | CC18226 | Grip | 1 | X | X | X | ||
| 4 | CC23527 | Plug | 1 | X | X | X | ||
| 5 | DC37647 | Crank | 1 | X | X | X | ||
| 6 | 34M7040 | Spring Pin | 1 | X | X | X | ||
| 7 | 24M7051 | Washer | 1 | X | X | X | ||
| 8 | DC24152 | Thrust Bearing | 1 | X | X | X | 
| key | PART NO. | PART NAME | QTY | SERIAL NO. | 540 | 545 | 550 | REMARKS | 
|---|---|---|---|---|---|---|---|---|
| 1 | DC39092 | Gate | 1 | X | X | |||
| DC39094 | Door | 1 | X | |||||
| 2 | 03M7183 | Bolt | 7 | X | X | X | ||
| 3 | 19M8163 | Bolt | 4 | X | X | X | ||
| 4 | AE42346 | Hinge | 2 | X | X | X | ||
| 5 | DC28245 | Support | 1 | X | X | X | ||
| 6 | 24M7055 | Washer | 1 | X | X | X | ||
| 7 | P1324B | Spring | 1 | X | X | X | ||
| 8 | E69568 | Bracket | 1 | X | X | X | ||
| 9 | E69570 | Clamp | 1 | X | X | X | ||
| key | PART NO. | PART NAME | QTY | SERIAL NO. | 540 | 545 | 550 | REMARKS | 
| 10 | E70406 | Screw | 2 | X | X | X | ||
| 11 | E69569 | Stop | 1 | X | X | X | ||
| 12 | R26810 | Pin Fastener | 1 | X | X | X | ||
| 13 | 11M7082 | Cotter Pin | 1 | X | X | X | ||
| 14 | 14M7298 | Flange Nut | 11 | X | X | X | ||
| 15 | 14M7273 | Nut | 2 | X | X | X | ||
| 16 | 19M7164 | Cap Screw | 1 | X | X | X | ||
| 17 | CC28428 | Shield | 1 | X | ||||
| 18 | 14M7303 | Flange Nut | 3 | X | ||||
| 19 | 21M7031 | Screw | 3 | X | 
| key | PART NO. | PART NAME | QTY | SERIAL NO. | 540 | 545 | 550 | REMARKS | 
|---|---|---|---|---|---|---|---|---|
| 1 | DC39093 | Gate | 1 | X | X | |||
| DC39095 | Door | 1 | X | |||||
| 2 | AE42346 | Hinge | 2 | X | X | X | ||
| 3 | 19M8163 | Bolt | 4 | X | X | X | ||
| 4 | 14M7298 | Flange Nut | 11 | X | X | X | ||
| 5 | 03M7183 | Bolt | 7 | X | X | X | ||
| 6 | 11M7082 | Cotter Pin | 1 | X | X | X | ||
| 7 | R26810 | Pin Fastener | 1 | X | X | X | ||
| 8 | E70406 | Screw | 2 | X | X | X | ||
| 9 | E69570 | Clamp | 1 | X | X | X | ||
| key | PART NO. | PART NAME | QTY | SERIAL NO. | 540 | 545 | 550 | REMARKS | 
| 10 | E69569 | Stop | 1 | X | X | X | ||
| 11 | E69568 | Bracket | 1 | X | X | X | ||
| 12 | P1324B | Spring | 1 | X | X | X | ||
| 13 | 24M7055 | Washer | 2 | X | X | X | ||
| 14 | DC28245 | Support | 1 | X | X | X | ||
| 15 | 14M7273 | Nut | 2 | X | X | X | ||
| 16 | 19M7164 | Cap Screw | 1 | X | X | X | 
| key | PART NO. | PART NAME | QTY | SERIAL NO. | 540 | 545 | 550 | REMARKS | ||
|---|---|---|---|---|---|---|---|---|---|---|
| 1 | E69980 | Rope | 1 | X | X | X | ||||
| E79264 | Rope | 1 | X | X | X | |||||
| 2 | E69902 | Angle | 1 | X | X | X | ||||
| 3 | E69889 | Instructions | 1 | X | X | X | ||||
| 4 | BP13227 | Grommet | 2 | X | X | X | ||||
| 5 | 03M7183 | Bolt | 13 | X | X | X | ||||
| 6 | 14M7298 | Flange Nut | AR | X | X | X | ||||
| 7 | ...... | Lock Nut | 2 | X | X | X | ||||
| 8 | 19M6614 | Cap Screw | 6 | X | X | X | ||||
| 9 | 14M7272 | Nut | 6 | X | X | X | ||||
| key | PART NO. | PART NAME | QTY | SERIAL NO. | 540 | 545 | 550 | REMARKS | ||
| 10 | 11M7038 | Cotter Pin | 2 | X | X | X | ||||
| 11 | 19M7162 | Cap Screw | 2 | X | X | X | ||||
| 12 | 14M7166 | Lock Nut | 2 | X | X | X | ||||
| 13 | E62581 | Bracket | 2 | X | X | X | ||||
| 14 | 19M7640 | Cap Screw | 2 | X | X | X | ||||
| 15 | E74348 | Lock Nut | 2 | X | X | X | ||||
| 16 | CC22571 | Support | 1 | X | X | |||||
| E67275 | Support | 1 | - | 295307 | ||||||
| CC33310 | Support | 1 | 295308 | - | ||||||
| 17 | CC22448 | Support | 1 | X | X | X | ||||
| key | PART NO. | PART NAME | QTY | SERIAL NO. | 540 | 545 | 550 | REMARKS | ||
| CC22448 | Support | 1 | X | X | X | |||||
| 18 | 24M7055 | Washer | 1 | X | X | X | ||||
| 19 | E10417 | Compression Spring | 1 | X | X | X | ||||
| 20 | E67316 | Channel | 1 | X | X | X | ||||
| 21 | E60682 | Plate | 1 | X | X | X | ||||
| 22 | N6704DN | Pin Fastener | 2 | X | X | X | ||||
| 23 | 11M7012 | Cotter Pin | 2 | X | X | X | ||||
| 24 | CC20572 | U-Bolt | 1 | X | X | X | ||||
| 25 | E69903 | Strap | 2 | X | X | X | ||||
| 26 | E69904 | Strap | 2 | X | X | X | ||||
| key | PART NO. | PART NAME | QTY | SERIAL NO. | 540 | 545 | 550 | REMARKS | ||
| 27 | 03M7189 | Bolt | 1 | 301476 | - | |||||
| 03M7189 | Bolt | 1 | X | X | ||||||
| 28 | CC24126 | Angle | 2 | 301476 | - | |||||
| CC24126 | Angle | 2 | X | X | ||||||
| 29 | E17742 | Idler | 2 | X | X | X | ||||
| 30 | CC24155 | Bushing | 2 | 301476 | - | |||||
| CC24155 | Bushing | 2 | X | X | ||||||
| 31 | 24M7207 | Washer | 2 | 301476 | - | |||||
| 24M7207 | Washer | 2 | X | X | ||||||
| 32 | CC20419 | Nut | 1 | X | X | |||||
| key | PART NO. | PART NAME | QTY | SERIAL NO. | 540 | 545 | 550 | REMARKS | ||
| 33 | CC28936 | Holder | 1 | 301476 | - | |||||
| CC28936 | Holder | 1 | X | X | ||||||
| 34 | E78377 | Label | 2 | X | X | X | ||||
| 35 | E62579 | Clevis | 2 | X | X | X | ||||
| 36 | E62582 | Latch | 2 | X | X | X | 
| key | PART NO. | PART NAME | QTY | SERIAL NO. | 540 | 545 | 550 | REMARKS | ||
|---|---|---|---|---|---|---|---|---|---|---|
| 1 | CC22588 | Support | 1 | X | X | |||||
| CC32861 | Support | 1 | X | X | ||||||
| E67274 | Support | 1 | - | 295307 | ||||||
| CC33309 | Support | 1 | 295308 | - | ||||||
| 2 | 03M7183 | Bolt | 11 | X | X | X | ||||
| 3 | 14M7298 | Flange Nut | AR | X | X | X | ||||
| 4 | E70374 | Angle | 1 | - | 278000 | |||||
| E70374 | Angle | 1 | X | |||||||
| 5 | CC22448 | Support | 1 | X | X | X | ||||
| 6 | E62581 | Bracket | 2 | X | X | X | ||||
| key | PART NO. | PART NAME | QTY | SERIAL NO. | 540 | 545 | 550 | REMARKS | ||
| 7 | 19M7162 | Cap Screw | 2 | X | X | X | ||||
| 8 | 14M7166 | Lock Nut | 2 | X | X | X | ||||
| 9 | 11M7038 | Cotter Pin | 2 | X | X | X | ||||
| 10 | 19M7868 | Screw | 1 | 295308 | - | |||||
| 11 | 19M7640 | Cap Screw | 2 | X | X | X | ||||
| 12 | M83968 | Lock Nut | 2 | X | X | X | ||||
| 13 | CC20419 | Nut | 1 | X | X | X | ||||
| 14 | DC28932 | Bracket | 2 | X | X | X | ||||
| 15 | 03M7191 | Bolt | 1 | X | X | X | ||||
| 16 | 14M7296 | Flange Nut | 1 | X | X | X | ||||
| key | PART NO. | PART NAME | QTY | SERIAL NO. | 540 | 545 | 550 | REMARKS | ||
| 17 | E78232 | Guide | 1 | X | X | X | ||||
| 18 | E78890 | Angle | 1 | 295308 | - | |||||
| 19 | 24M7055 | Washer | 1 | 295308 | - | |||||
| 20 | 19M7643 | Cap Screw | 1 | 295308 | - | |||||
| 21 | E62579 | Clevis | 2 | X | X | X | ||||
| 22 | E62582 | Latch | 2 | X | X | X | 
| key | PART NO. | PART NAME | QTY | SERIAL NO. | 540 | 545 | 550 | REMARKS | ||
|---|---|---|---|---|---|---|---|---|---|---|
| 1 | 19M7599 | Cap Screw | 2 | - | 278000 | |||||
| 19M7599 | Cap Screw | 2 | - | 279360 | ||||||
| 2 | 14M7277 | Nut | 2 | - | 278000 | |||||
| 14M7277 | Nut | 2 | - | 279360 | ||||||
| 3 | 24M7136 | Washer | 2 | - | 278000 | |||||
| 24M7136 | Washer | 2 | - | 279360 | ||||||
| 4 | CC18639 | Retainer | 1 | - | 278000 | |||||
| CC18639 | Retainer | 1 | - | 279360 | ||||||
| 5 | 122SE | Compression Spring | 1 | - | 278000 | |||||
| 122SE | Compression Spring | 1 | - | 279360 | ||||||
| key | PART NO. | PART NAME | QTY | SERIAL NO. | 540 | 545 | 550 | REMARKS | ||
| 6 | 24M7040 | Washer | 1 | - | 278000 | |||||
| 24M7040 | Washer | 1 | - | 279360 | ||||||
| 7 | 14M7167 | Lock Nut | 1 | - | 278000 | |||||
| 14M7167 | Lock Nut | 1 | - | 279360 | ||||||
| 8 | CC18642 | Spring Pin | 1 | - | 278000 | |||||
| CC18642 | Spring Pin | 1 | - | 279360 | ||||||
| 9 | 34M3872 | Spring Pin | 1 | - | 278000 | |||||
| 34M3872 | Spring Pin | 1 | - | 279360 | ||||||
| 10 | AR62149 | Quick Lock Pin | 1 | - | 278000 | |||||
| AR62149 | Quick Lock Pin | 1 | - | 279360 | ||||||
| key | PART NO. | PART NAME | QTY | SERIAL NO. | 540 | 545 | 550 | REMARKS | ||
| 11 | DC18636 | Hitch | 1 | - | 278000 | |||||
| DC18636 | Hitch | 1 | - | 279360 | ||||||
| 12 | 09M7028 | Bolt | 1 | - | 278000 | |||||
| 09M7028 | Bolt | 1 | - | 279360 | ||||||
| 13 | CC18641 | Plate | 1 | - | 278000 | |||||
| CC18641 | Plate | 1 | - | 279360 | ||||||
| 14 | CC18640 | Strap | 10 | - | 278000 | |||||
| CC18640 | Strap | 10 | - | 279360 | ||||||
| 15 | AR78830 | Hydraulic Hose | 2 | - | 278000 | |||||
| AR78830 | Hydraulic Hose | 1 | - | 279360 | ||||||
| key | PART NO. | PART NAME | QTY | SERIAL NO. | 540 | 545 | 550 | REMARKS | ||
| 16 | R27095 | Fitting | 2 | - | 278000 | |||||
| R27095 | Fitting | 1 | - | 279360 | 
| key | PART NO. | PART NAME | QTY | SERIAL NO. | 540 | 545 | 550 | REMARKS | ||
|---|---|---|---|---|---|---|---|---|---|---|
| 1 | 03M7198 | Bolt | 2 | X | X | |||||
| 2 | CC20615 | Bracket | 2 | X | X | |||||
| 3 | CC20617 | Bracket | 1 | X | X | |||||
| 4 | 14M7299 | Flange Nut | AR | X | X | X | ||||
| 5 | DC21383 | Bracket | 1 | X | X | X | ||||
| 6 | 03M7107 | Bolt | 4 | X | X | X | ||||
| 7 | CC33087 | Bar | 1 | X | ||||||
| CC22768 | Bar | 1 | - | 278130 | ||||||
| CC33087 | Bar | 1 | 278131 | - | ||||||
| CC22768 | Bar | 1 | - | 280009 | ||||||
| key | PART NO. | PART NAME | QTY | SERIAL NO. | 540 | 545 | 550 | REMARKS | ||
| CC33087 | Bar | 1 | 280010 | - | ||||||
| 8 | 19M7814 | Screw | 2 | X | X | X | ||||
| 9 | DC21384 | Bracket | 1 | X | X | X | ||||
| 10 | 14M7152 | Nut | 2 | X | X | X | ||||
| 11 | 19M8049 | Cap Screw | 2 | X | X | X | ||||
| 12 | DC20649 | Tine | 5 | X | X | |||||
| 13 | 03M7084 | Bolt | 4 | X | X | |||||
| 14 | 14M7296 | Flange Nut | 9 | X | X | |||||
| 15 | CC28180 | Spacer | 5 | X | X | |||||
| 16 | CC22490 | Stripper | 1 | - | 258000 | |||||
| key | PART NO. | PART NAME | QTY | SERIAL NO. | 540 | 545 | 550 | REMARKS | ||
| CC22490 | Stripper | 1 | - | 260392 | ||||||
| 17 | CC22489 | Stripper | 1 | - | 258000 | |||||
| CC22489 | Stripper | 1 | - | 260392 | ||||||
| 18 | DC24424 | Scraper | 1 | X | X | X | ||||
| 19 | DC24425 | Scraper | 1 | X | X | X | ||||
| 20 | 03M7199 | Bolt | AR | X | X | X | ||||
| 21 | 03M7191 | Bolt | 4 | X | X | X | ||||
| 22 | CC23993 | Scraper | 2 | X | X | X | ||||
| 23 | DC19765 | Flange Nut | 4 | X | X | X | ||||
| 24 | AE46606 | Ball Bearing | 2 | X | X | X | ||||
| key | PART NO. | PART NAME | QTY | SERIAL NO. | 540 | 545 | 550 | REMARKS | ||
| 25 | DC31319 | Roll | 1 | X | ||||||
| DC31319 | Roll | 1 | - | 258000 | ||||||
| DC31319 | Roll | 1 | - | 260392 | ||||||
| 26 | JD8579 | Eccentric Locking Collar | 2 | X | ||||||
| 27 | AE12601 | Ball Bearing | 2 | X | ||||||
| 28 | DC32963 | Roller | 1 | X | ||||||
| 29 | DC27959 | Bracket | 1 | X | X | |||||
| DC34134 | Scraper | 1 | X | X | ||||||
| 30 | DC27958 | Bracket | 1 | X | X | |||||
| DC34133 | Scraper | 1 | X | X | ||||||
| key | PART NO. | PART NAME | QTY | SERIAL NO. | 540 | 545 | 550 | REMARKS | ||
| 31 | CC23993 | Scraper | 2 | X | X | |||||
| 32 | 24M7028 | Washer | 4 | X | X | |||||
| 33 | 19M7166 | Cap Screw | 4 | X | X | |||||
| 34 | CC34020 | Bolt | 2 | X | X | 
| key | PART NO. | PART NAME | QTY | SERIAL NO. | 540 | 545 | 550 | REMARKS | ||
|---|---|---|---|---|---|---|---|---|---|---|
| 1 | DC31781 | Scraper | 1 | X | ||||||
| DC34018 | Scraper | 1 | X | |||||||
| 2 | DC31780 | Scraper | 1 | X | ||||||
| DC34019 | Scraper | 1 | X | |||||||
| 3 | CC33087 | Bar | 1 | X | ||||||
| 4 | CC34020 | Bolt | 2 | X | ||||||
| 5 | 14M7299 | Flange Nut | AR | X | ||||||
| 6 | 19M7814 | Screw | 4 | X | ||||||
| 7 | DC33106 | Roll | 1 | X | ||||||
| 8 | CC24463 | Deflector | 2 | X | ||||||
| key | PART NO. | PART NAME | QTY | SERIAL NO. | 540 | 545 | 550 | REMARKS | ||
| 9 | JD10472 | Ball Bearing | 2 | X | ||||||
| 10 | CC28429 | Cap Screw | 2 | X | ||||||
| 11 | CC33095 | Bracket | 2 | X | ||||||
| 12 | CC31153 | Pin Fastener | 1 | X | ||||||
| 13 | DC38432 | Roller | 1 | X | ||||||
| 14 | DC33654 | Bracket | 1 | - | 301857 | |||||
| 15 | DC33655 | Bracket | 1 | - | 301857 | |||||
| 16 | CC33087 | Bar | 1 | - | 301857 | |||||
| 17 | 03M7202 | Bolt | 2 | - | 301857 | |||||
| 18 | 19M8049 | Cap Screw | 2 | - | 301857 | |||||
| key | PART NO. | PART NAME | QTY | SERIAL NO. | 540 | 545 | 550 | REMARKS | ||
| 19 | 14M7152 | Nut | 2 | - | 301857 | |||||
| 20 | DC35196 | Roller | 1 | X | ||||||
| 21 | AE12601 | Ball Bearing | 2 | X | ||||||
| 22 | CC106768 | Chain Sprocket | 1 | X | ||||||
| 23 | DC32747 | Bar | 2 | X | ||||||
| 24 | CC33239 | Cap Screw | 6 | X | ||||||
| 25 | AZ26761 | Roller Chain | 1 | X | ||||||
| 26 | JD8579 | Eccentric Locking Collar | 2 | X | ||||||
| 27 | CC34894 | Knife | 1 | 301858 | - | |||||
| 28 | DC34900 | Bracket | 1 | 301858 | - | |||||
| key | PART NO. | PART NAME | QTY | SERIAL NO. | 540 | 545 | 550 | REMARKS | ||
| 29 | DC35209 | Support | 1 | 301858 | - | |||||
| 30 | CC22734 | Bar | 2 | X | ||||||
| 31 | 19M7789 | Screw | 4 | 301858 | - | |||||
| 32 | 24M7043 | Washer | 3 | 301858 | - | |||||
| 33 | 03M7226 | Bolt | 1 | 301858 | - | 
| key | PART NO. | PART NAME | QTY | SERIAL NO. | 540 | 545 | 550 | REMARKS | 
|---|---|---|---|---|---|---|---|---|
| 1 | DC31781 | Scraper | 1 | X | X | |||
| DC34018 | Scraper | 1 | X | X | ||||
| 2 | DC31780 | Scraper | 1 | X | X | |||
| DC34019 | Scraper | 1 | X | X | ||||
| 3 | CC33087 | Bar | 1 | X | X | |||
| 4 | CC34020 | Bolt | 2 | X | X | |||
| 5 | 14M7299 | Flange Nut | AR | X | X | |||
| 6 | 19M7814 | Screw | 4 | X | X | 
| key | PART NO. | PART NAME | QTY | SERIAL NO. | 540 | 545 | 550 | REMARKS | 
|---|---|---|---|---|---|---|---|---|
| 1 | DC36984 | Roller | 1 | X | X | X | ||
| 2 | CC22734 | Bar | 2 | X | X | X | ||
| 3 | CC33239 | Cap Screw | 6 | X | X | X | ||
| 4 | DC43999 | Tube | 1 | X | X | X | ||
| 5 | 11M7085 | Cotter Pin | 2 | X | X | X | ||
| 6 | 34M7052 | Spring Pin | 2 | X | X | X | 
| key | PART NO. | PART NAME | QTY | SERIAL NO. | 540 | 545 | 550 | REMARKS | 
|---|---|---|---|---|---|---|---|---|
| 1 | DC24112 | Lever | 1 | X | X | |||
| 2 | 24H1513 | Washer | 3 | X | X | |||
| 3 | 11M7040 | Cotter Pin | 1 | X | X | |||
| 4 | CC24108 | Bar | 1 | X | X | |||
| 5 | 34M7049 | Spring Pin | 1 | X | X | |||
| 6 | ...... | Socket | 1 | X | X | 
| key | PART NO. | PART NAME | QTY | SERIAL NO. | 540 | 545 | 550 | REMARKS | 
|---|---|---|---|---|---|---|---|---|
| 1 | 11M7012 | Cotter Pin | 1 | X | X | X | ||
| 2 | E15074 | Link | 1 | X | X | X | ||
| 3 | E78805 | Extension Spring | 1 | X | X | X | ||
| 4 | 21H1355 | Screw | 3 | X | X | X | ||
| 5 | AM3118E | Meter | 1 | X | X | X | ||
| 6 | 12H233 | Lock Washer | 3 | X | X | X | ||
| 7 | 14H602 | Nut | 3 | X | X | X | 
| key | PART NO. | PART NAME | QTY | SERIAL NO. | 540 | 545 | 550 | REMARKS | ||
|---|---|---|---|---|---|---|---|---|---|---|
| 1 | AZ13425 | Reflector | 2 | X | ||||||
| ...... | Reflector | 2 | - | 258610 | ||||||
| AZ13425 | Reflector | 2 | 258611 | - | ||||||
| ...... | Reflector | 2 | - | 260620 | ||||||
| AZ13425 | Reflector | 2 | 260621 | - | ||||||
| 2 | CC27153 | Bracket | 2 | X | ||||||
| ...... | Bracket | 2 | - | 258610 | ||||||
| CC27153 | Bracket | 2 | 258611 | - | ||||||
| ...... | Bracket | 2 | - | 260620 | ||||||
| CC27153 | Bracket | 2 | 260621 | - | ||||||
| key | PART NO. | PART NAME | QTY | SERIAL NO. | 540 | 545 | 550 | REMARKS | ||
| 3 | 21M7022 | Screw | 4 | X | X | X | ||||
| 4 | 24M7138 | Washer | 2 | X | X | X | ||||
| 5 | 12M7060 | Washer | 6 | X | X | X | ||||
| 6 | 14M7028 | Nut | 6 | X | X | X | ||||
| 7 | 03M7183 | Bolt | 4 | X | X | X | ||||
| 8 | 14M7298 | Flange Nut | 4 | X | X | X | ||||
| 9 | JD126 | Socket | 1 | X | X | X | ||||
| 10 | 37M7058 | Screw | 2 | X | X | X | ||||
| 11 | 21M7022 | Screw | 2 | X | X | X | ||||
| 12 | CC22585 | Reflector | 2 | X | X | X | 
| key | PART NO. | PART NAME | QTY | SERIAL NO. | 540 | 545 | 550 | REMARKS | 
|---|---|---|---|---|---|---|---|---|
| 1 | DC22927 | Support | 1 | X | X | |||
| 2 | 19M7387 | Cap Screw | 2 | X | X | |||
| 3 | 24M7043 | Washer | 3 | X | X | |||
| 4 | CC102905 | Spacer | 1 | X | X | |||
| 5 | CC22850 | Strap | 1 | X | X | |||
| 6 | 14M7299 | Flange Nut | AR | X | X | |||
| 7 | Z34677 | Bushing | 1 | X | X | |||
| 8 | DC25975 | Guide | 2 | X | X | |||
| 9 | 34M7044 | Spring Pin | 4 | X | X | |||
| 10 | CC22973 | Flange | 2 | X | X | |||
| key | PART NO. | PART NAME | QTY | SERIAL NO. | 540 | 545 | 550 | REMARKS | 
| 11 | 03M7109 | Bolt | 4 | X | X | |||
| 12 | 03M7199 | Bolt | 4 | X | X | |||
| 13 | CC22830 | Strap | 1 | X | X | |||
| 14 | E66686 | Retainer | 2 | X | X | |||
| 15 | 28H2514 | Bushing | 1 | X | X | |||
| 16 | AE39141 | Arm | 1 | X | X | |||
| 17 | 19M7273 | Cap Screw | 1 | X | X | |||
| 18 | 19M7216 | Cap Screw | 1 | X | X | |||
| 19 | 19H1765 | Cap Screw | AR | X | X | |||
| 20 | M40643 | Extension Spring | 1 | X | X | |||
| key | PART NO. | PART NAME | QTY | SERIAL NO. | 540 | 545 | 550 | REMARKS | 
| 21 | CC22848 | Spacer | 1 | X | X | |||
| 22 | 19M7518 | Cap Screw | 1 | X | X | |||
| 23 | 24M7007 | Washer | 1 | X | X | |||
| 24 | DC22837 | Support | 1 | X | X | |||
| 25 | JD7797 | Lubrication Fitting | 1 | X | X | |||
| 26 | 14M7300 | Flange Nut | 1 | X | X | |||
| 27 | DC22870 | Deflector | 4 | X | X | |||
| 28 | 24M7091 | Washer | 4 | X | X | |||
| 29 | ...... | Tube | 2 | X | X | |||
| 30 | ...... | Bearing | 2 | X | X | |||
| key | PART NO. | PART NAME | QTY | SERIAL NO. | 540 | 545 | 550 | REMARKS | 
| 31 | CC18086 | Innertube | 2 | X | X | |||
| 32 | 58M5573 | Lubrication Fitting | 2 | X | X | |||
| 33 | CC18087 | Tire | 2 | X | X | |||
| 34 | DC43621 | Tire And Wheel Assembly | 2 | X | X | |||
| 35 | E78419 | Arm | 1 | X | X | |||
| 36 | Z38113 | Bracket | 1 | X | X | |||
| 37 | BP14014 | Washer | 2 | X | X | |||
| 38 | 19M7815 | Screw | 1 | X | X | |||
| 39 | 19M7814 | Screw | 1 | X | X | |||
| 40 | 24H1303 | Washer | 2 | X | X | |||
| key | PART NO. | PART NAME | QTY | SERIAL NO. | 540 | 545 | 550 | REMARKS | 
| 41 | 19H1800 | Cap Screw | 2 | X | X | |||
| 42 | 14H812 | Nut | 1 | X | X | |||
| 43 | DC202098 | Rim | 2 | X | X | 
| key | PART NO. | PART NAME | QTY | SERIAL NO. | 540 | 545 | 550 | REMARKS | ||
|---|---|---|---|---|---|---|---|---|---|---|
| 1 | 19M8049 | Cap Screw | 2 | 278131 | - | 306326 | ||||
| 19M8049 | Cap Screw | 2 | 280010 | - | 295307 | |||||
| 2 | 14M7152 | Nut | 2 | 278131 | - | 306326 | ||||
| 14M7152 | Nut | 2 | 280010 | - | 295307 | |||||
| 3 | DC21384 | Bracket | 1 | 278131 | - | 306326 | ||||
| DC21384 | Bracket | 1 | 280010 | - | 295307 | |||||
| 4 | 14M7299 | Flange Nut | AR | X | X | |||||
| 5 | DC21383 | Bracket | 1 | 278131 | - | 306326 | ||||
| DC21383 | Bracket | 1 | 280010 | - | 295307 | |||||
| 6 | 03M7107 | Bolt | 4 | 278131 | - | 306326 | ||||
| key | PART NO. | PART NAME | QTY | SERIAL NO. | 540 | 545 | 550 | REMARKS | ||
| 03M7107 | Bolt | 4 | 280010 | - | 295307 | |||||
| 7 | CC33087 | Bar | 1 | 278131 | - | |||||
| CC33087 | Bar | 1 | 280010 | - | ||||||
| 8 | 19M7814 | Screw | 2 | 278131 | - | |||||
| 19M7814 | Screw | 2 | 280010 | - | ||||||
| 9 | CC20617 | Bracket | 1 | - | 278130 | |||||
| CC20617 | Bracket | 1 | - | 280009 | ||||||
| 10 | DC20649 | Tine | 5 | - | 278130 | |||||
| DC20649 | Tine | 5 | - | 280009 | ||||||
| 11 | CC20615 | Bracket | 2 | - | 278130 | |||||
| key | PART NO. | PART NAME | QTY | SERIAL NO. | 540 | 545 | 550 | REMARKS | ||
| CC20615 | Bracket | 2 | - | 280009 | ||||||
| 12 | CC28180 | Spacer | 5 | - | 278130 | |||||
| CC28180 | Spacer | 5 | - | 280009 | ||||||
| 13 | 14M7296 | Flange Nut | 9 | - | 278130 | |||||
| 14M7296 | Flange Nut | 9 | - | 280009 | ||||||
| 14 | 03M7084 | Bolt | 4 | - | 278130 | |||||
| 03M7084 | Bolt | 4 | - | 280009 | ||||||
| 15 | 03M7198 | Bolt | 2 | - | 278180 | |||||
| 03M7198 | Bolt | 2 | - | 280009 | 
| key | PART NO. | PART NAME | QTY | SERIAL NO. | 540 | 545 | 550 | REMARKS | 
|---|---|---|---|---|---|---|---|---|
| 1 | AE26568 | Cover | 1 | X | X | |||
| 2 | CC22898 | Bracket | 1 | X | X | |||
| CC22884 | Bracket | 1 | X | X | ||||
| 3 | 14M7298 | Flange Nut | 10 | X | X | |||
| 4 | 03M7184 | Bolt | 10 | X | X | |||
| 5 | DC16293 | Box | 1 | X | X | |||
| 6 | 03H1540 | Bolt | 2 | X | X | |||
| 7 | N10213 | Lock Nut | 4 | X | X | |||
| 8 | E50155 | Clamp | 1 | X | X | |||
| 9 | CC18005 | Plate | 1 | X | X | |||
| key | PART NO. | PART NAME | QTY | SERIAL NO. | 540 | 545 | 550 | REMARKS | 
| 10 | 03H2209 | Bolt | 1 | X | X | |||
| 11 | E32434 | Plate | 1 | X | X | |||
| 12 | E32433 | Plate | 1 | X | X | |||
| 13 | 03H2272 | Bolt | 2 | X | X | |||
| 14 | E10417 | Compression Spring | 1 | X | X | |||
| 15 | 24H1136 | Washer | 1 | X | X | |||
| 16 | E50101 | Lock Nut | 1 | X | X | |||
| 17 | E71183 | Strap | 1 | X | ||||
| 18 | CC23594 | Bracket | 1 | X | ||||
| 19 | AE48968 | Switch | 1 | X | ||||
| key | PART NO. | PART NAME | QTY | SERIAL NO. | 540 | 545 | 550 | REMARKS | 
| 20 | 21H1348 | Screw | 2 | X | ||||
| 21 | DC23902 | Wiring Lead | 2 | X | ||||
| 22 | R44302 | Tie Band | 1 | X | X | |||
| 23 | DC28315 | Bracket | 2 | X | X | |||
| 24 | DC38010 | Support | 1 | X | X | |||
| 25 | 19M7319 | Screw | 2 | X | X | |||
| 26 | CC25115 | Angle | 1 | X | X | |||
| 27 | CC23747 | Stop | 1 | X | ||||
| 28 | CC22867 | Channel | 1 | X | X | |||
| 29 | 14M7165 | Lock Nut | 1 | X | X | |||
| key | PART NO. | PART NAME | QTY | SERIAL NO. | 540 | 545 | 550 | REMARKS | 
| 30 | 14M7019 | Wing Nut | 1 | X | X | |||
| 31 | ...... | Arm | 1 | X | X | |||
| 32 | CC25941 | Guide | 1 | X | X | |||
| 33 | DC25943 | Bracket | 1 | X | X | |||
| 34 | A15147 | Spring Locking Pin | 1 | X | X | |||
| 35 | CC23590 | Spacer | 2 | X | X | 
| key | PART NO. | PART NAME | QTY | SERIAL NO. | 540 | 545 | 550 | REMARKS | 
|---|---|---|---|---|---|---|---|---|
| 1 | ...... | Sheave | 1 | X | X | |||
| 2 | JD10288 | Ball Bearing | 4 | X | X | |||
| 3 | CC22904 | Bar | 1 | X | X | |||
| 4 | 24H1574 | Washer | AR | X | X | |||
| 5 | CC22809 | Spacer | 4 | X | X | |||
| 6 | 11H239 | Cotter Pin | 1 | X | X | |||
| 7 | 45M7094 | Pin Fastener | 1 | X | X | |||
| 8 | 24M7043 | Washer | 4 | X | X | |||
| 9 | DC22996 | Link Chain | 1 | X | X | |||
| 10 | ...... | Chain Sprocket | 1 | X | X | |||
| key | PART NO. | PART NAME | QTY | SERIAL NO. | 540 | 545 | 550 | REMARKS | 
| CC113270 | Chain Sprocket | 1 | X | X | ||||
| 11 | ...... | Sheave | 1 | X | X | |||
| 12 | DC22995 | Link Chain | 1 | X | X | |||
| 13 | 14M7167 | Lock Nut | 2 | X | X | |||
| 14 | 24M7178 | Washer | 2 | X | X | |||
| 15 | 12M7110 | Lock Washer | 4 | X | X | |||
| 16 | CC25997 | Bushing | 2 | X | X | |||
| 17 | CC25998 | Tightener | 2 | X | X | |||
| 18 | 19M7867 | Screw | 4 | X | X | |||
| 19 | CC25977 | Bracket | 1 | X | X | |||
| key | PART NO. | PART NAME | QTY | SERIAL NO. | 540 | 545 | 550 | REMARKS | 
| 20 | 14M7298 | Flange Nut | 2 | X | X | |||
| 21 | 03M7194 | Bolt | 2 | X | X | |||
| 22 | DC27199 | Arm | 1 | X | X | |||
| 23 | CC25976 | Bracket | 1 | X | X | |||
| 24 | B5235H | Chain Link | 2 | X | X | |||
| 25 | ...... | Chain Sprocket | 1 | X | X | |||
| CC34839 | Chain Sprocket | 1 | X | X | ||||
| 26 | 19M7580 | Cap Screw | 1 | X | X | |||
| 27 | 14M7165 | Lock Nut | 1 | X | X | |||
| 28 | DC33234 | Tube | 2 | X | X | |||
| key | PART NO. | PART NAME | QTY | SERIAL NO. | 540 | 545 | 550 | REMARKS | 
| 29 | 14M7272 | Nut | 1 | X | X | 
| key | PART NO. | PART NAME | QTY | SERIAL NO. | 540 | 545 | 550 | REMARKS | 
|---|---|---|---|---|---|---|---|---|
| 1 | DC34128 | Support | 1 | X | X | X | ||
| DC34127 | Support | 1 | X | X | X | |||
| 2 | CC32556 | Spacer | 2 | X | X | X | ||
| 3 | 03M7192 | Bolt | 2 | X | X | X | ||
| 4 | 24M7178 | Washer | 2 | X | X | X | ||
| 5 | 14M7167 | Lock Nut | 2 | X | X | X | ||
| 6 | JD30543 | Ball Bearing | 4 | X | X | X | ||
| 7 | ...... | Auger | 1 | X | X | X | ||
| DC27979 | Auger | 1 | X | X | X | |||
| 8 | 40M1828 | Snap Ring | 2 | X | X | X | ||
| key | PART NO. | PART NAME | QTY | SERIAL NO. | 540 | 545 | 550 | REMARKS | 
| 9 | L12259 | Spring | 2 | X | X | X | ||
| 10 | DC27958 | Bracket | 1 | X | X | X | ||
| DC34133 | Scraper | 1 | X | X | X | |||
| DC27959 | Bracket | 1 | X | X | X | |||
| DC34134 | Scraper | 1 | X | X | X | |||
| 11 | 03M7199 | Bolt | 2 | X | X | X | ||
| 12 | 19M7166 | Cap Screw | 4 | X | X | X | ||
| 13 | 24M7028 | Washer | 4 | X | X | X | ||
| 14 | CC23993 | Scraper | 2 | X | X | X | ||
| 15 | ...... | Ring | 2 | X | X | X | ||
| key | PART NO. | PART NAME | QTY | SERIAL NO. | 540 | 545 | 550 | REMARKS | 
| 16 | 14M7168 | Lock Nut | 2 | X | X | X | ||
| 17 | CC33057 | Shaft | 2 | X | X | X | ||
| 18 | 34M7028 | Spring Pin | 2 | X | X | X | ||
| 19 | CC34020 | Bolt | 2 | X | X | X | 
| key | PART NO. | PART NAME | QTY | SERIAL NO. | 540 | 545 | 550 | REMARKS | 
|---|---|---|---|---|---|---|---|---|
| 1 | E54498 | Pressed Flanged Housing | 2 | X | X | X | ||
| 2 | JD9313 | Ball Bearing | 1 | X | X | X | ||
| 3 | 34M7043 | Spring Pin | 1 | X | X | X | ||
| 4 | DC35225 | Shaft | 1 | X | X | X | ||
| 5 | 24H1477 | Washer | AR | X | X | X | ||
| 6 | DC35407 | Chain Sprocket | 1 | X | X | X | ||
| 7 | 14M7170 | Lock Nut | 1 | X | X | X | ||
| 8 | 24M7178 | Washer | 2 | X | X | X | ||
| 9 | AE27909 | Idler Sprocket | 1 | X | X | X | ||
| 10 | E14416 | Spacer | 1 | X | X | X | ||
| key | PART NO. | PART NAME | QTY | SERIAL NO. | 540 | 545 | 550 | REMARKS | 
| 11 | 03M7211 | Bolt | 1 | X | X | X | ||
| 12 | 19M7557 | Cap Screw | 3 | X | X | X | ||
| 13 | DC35405 | Shaft | 1 | X | ||||
| DC36998 | Shaft | 1 | X | X | ||||
| 14 | 19M7183 | Cap Screw | 1 | X | X | X | ||
| 15 | JD9338 | Ball Bearing | 1 | X | X | X | ||
| 16 | CC35408 | Deflector | 1 | X | X | X | ||
| 17 | 28H860 | Washer | 1 | X | X | X | ||
| 18 | DC45377 | Auger | 1 | X | X | X | 
| key | PART NO. | PART NAME | QTY | SERIAL NO. | 540 | 545 | 550 | REMARKS | 
|---|---|---|---|---|---|---|---|---|
| 1 | CC28272 | Angle | 2 | X | X | |||
| 2 | CC27175 | Angle | 1 | X | X | |||
| 3 | DC38903 | Rod | 5 | X | X | |||
| 4 | 03M7198 | Bolt | 2 | X | X | |||
| 5 | 14M7299 | Flange Nut | 2 | X | X | |||
| 6 | CC28180 | Spacer | 5 | X | X | |||
| 7 | 14M7296 | Flange Nut | 5 | X | X | |||
| 8 | 19M7166 | Cap Screw | 4 | X | X | 
| key | PART NO. | PART NAME | QTY | SERIAL NO. | 540 | 545 | 550 | REMARKS | 
|---|---|---|---|---|---|---|---|---|
| 1 | 03M7198 | Bolt | 2 | X | X | |||
| 2 | CC20615 | Bracket | 2 | X | X | |||
| 3 | CC20617 | Bracket | 1 | X | X | |||
| 4 | 14M7299 | Flange Nut | 10 | X | X | |||
| 5 | DC21383 | Bracket | 1 | X | X | |||
| 6 | 03M7107 | Bolt | 4 | X | X | |||
| 7 | CC33087 | Bar | 1 | X | X | |||
| 8 | 19M7814 | Screw | 2 | X | X | |||
| 9 | DC21384 | Bracket | 1 | X | X | |||
| 10 | 14M7152 | Nut | 2 | X | X | |||
| key | PART NO. | PART NAME | QTY | SERIAL NO. | 540 | 545 | 550 | REMARKS | 
| 11 | 19M8049 | Cap Screw | 2 | X | X | |||
| 12 | DC20649 | Tine | 5 | X | X | |||
| 13 | 03M7084 | Bolt | 4 | X | X | |||
| 14 | 14M7296 | Flange Nut | 9 | X | X | |||
| 15 | CC28180 | Spacer | 5 | X | X | |||
| 16 | DC19765 | Flange Nut | 4 | X | X | |||
| 17 | CC23993 | Scraper | 2 | X | X | |||
| 18 | DC24424 | Scraper | 1 | X | X | |||
| 19 | DC24425 | Scraper | 1 | X | X | |||
| 20 | 03M7199 | Bolt | 4 | X | X | |||
| key | PART NO. | PART NAME | QTY | SERIAL NO. | 540 | 545 | 550 | REMARKS | 
| 21 | 03M7191 | Bolt | 4 | X | X | |||
| 22 | CC33057 | Shaft | 2 | X | X | |||
| 23 | CC33054 | Bracket | 2 | X | X | |||
| 24 | DC27958 | Bracket | 1 | X | X | |||
| DC34133 | Scraper | 1 | X | X | ||||
| 25 | DC27959 | Bracket | 1 | X | X | |||
| DC34134 | Scraper | 1 | X | X | ||||
| 26 | CC23993 | Scraper | 2 | X | X | |||
| 27 | 03M7199 | Bolt | AR | X | X | |||
| 28 | 24M7028 | Washer | 4 | X | X | |||
| key | PART NO. | PART NAME | QTY | SERIAL NO. | 540 | 545 | 550 | REMARKS | 
| 29 | 19M7166 | Cap Screw | 4 | X | X | |||
| 30 | DC31781 | Scraper | 1 | X | X | |||
| DC34018 | Scraper | 1 | X | X | ||||
| 31 | DC31780 | Scraper | 1 | X | X | |||
| DC34019 | Scraper | 1 | X | X | ||||
| 32 | CC33087 | Bar | 1 | X | X | |||
| 33 | CC34020 | Bolt | 2 | X | X | 
| key | PART NO. | PART NAME | QTY | SERIAL NO. | 540 | 545 | 550 | REMARKS | 
|---|---|---|---|---|---|---|---|---|
| 1 | DC28103 | Guard | 8 | X | X | |||
| 2 | 19M7300 | Cap Screw | AR | X | X | |||
| 3 | DC27184 | Stripper | 1 | X | X | |||
| 4 | DC27183 | Stripper | 1 | X | X | |||
| 5 | CC27176 | Deflector | 1 | X | X | |||
| 6 | 19M7162 | Cap Screw | 4 | X | X | |||
| 7 | 14M7166 | Lock Nut | 4 | X | X | |||
| 8 | AP24341 | Clamp | 4 | X | X | |||
| 9 | CC27181 | Sheet | 1 | X | X | |||
| 10 | 37M7087 | Screw | 2 | X | X | 
| key | PART NO. | PART NAME | QTY | SERIAL NO. | 540 | 545 | 550 | REMARKS | 
|---|---|---|---|---|---|---|---|---|
| 1 | ...... | Sheave | 1 | X | X | |||
| 2 | AZ24263 | Idler | 1 | X | X | |||
| 3 | ...... | Sheave | 1 | X | X | |||
| 4 | ...... | Arm | 1 | X | X | |||
| 5 | DC28501 | Bracket | 1 | X | X | |||
| 7 | Z35005 | Eyebolt | 1 | X | X | |||
| 8 | CC30409 | Angle | 1 | X | X | |||
| 9 | CC28493 | V-Belt | 1 | X | X | |||
| 10 | ...... | Holder | 1 | X | X | |||
| 11 | Z34900 | Bushing | 1 | X | X | |||
| key | PART NO. | PART NAME | QTY | SERIAL NO. | 540 | 545 | 550 | REMARKS | 
| 12 | 19M7363 | Cap Screw | 1 | X | X | |||
| 13 | 24M7047 | Washer | AR | X | X | |||
| 14 | 14M7168 | Lock Nut | AR | X | X | |||
| 15 | 11M7015 | Cotter Pin | 2 | X | X | |||
| 16 | 24M7053 | Washer | 2 | X | X | |||
| 17 | 14M7303 | Flange Nut | 2 | X | X | |||
| 18 | 03M7199 | Bolt | 1 | X | X | |||
| 19 | 19M7786 | Screw | 4 | X | X | |||
| 20 | 14M7296 | Flange Nut | 3 | X | X | |||
| 21 | 24M7178 | Washer | AR | X | X | |||
| key | PART NO. | PART NAME | QTY | SERIAL NO. | 540 | 545 | 550 | REMARKS | 
| 22 | 24H1891 | Washer | 1 | X | X | 
| key | PART NO. | PART NAME | QTY | SERIAL NO. | 540 | 545 | 550 | REMARKS | 
|---|---|---|---|---|---|---|---|---|
| 1 | E80165 | Deflector | 1 | X | X | X | ||
| 2 | 10H1068 | Bolt | 2 | X | X | X | ||
| 3 | 10H1027 | Bolt | 2 | X | X | X | ||
| 4 | E80166 | Deflector | 1 | X | X | X | ||
| 5 | N10215 | Lock Nut | 4 | X | X | X | 
| key | PART NO. | PART NAME | QTY | SERIAL NO. | 540 | 545 | 550 | REMARKS | 
|---|---|---|---|---|---|---|---|---|
| 1 | DC35601 | Arm | 1 | X | ||||
| 2 | JD8570 | Ball Bearing | 2 | X | ||||
| 3 | CC32313 | Tube | 1 | X | ||||
| 4 | DC35602 | Arm | 1 | X | ||||
| 5 | 03M7089 | Bolt | 4 | X | 
| key | PART NO. | PART NAME | QTY | SERIAL NO. | 540 | 545 | 550 | REMARKS | 
|---|---|---|---|---|---|---|---|---|
| 1 | 03M7194 | Bolt | 2 | X | X | |||
| 2 | DC28217 | Bracket | 1 | X | X | |||
| 3 | 24H1308 | Washer | 2 | X | X | |||
| 4 | 24H1781 | Washer | 2 | X | X | |||
| 5 | 14M7296 | Flange Nut | 2 | X | X | |||
| 6 | DC28221 | Crossbar | 1 | X | X | |||
| 7 | DC28218 | Bracket | 1 | X | X | |||
| 8 | 14M7276 | Nut | 5 | X | X | |||
| 9 | 19M7500 | Cap Screw | 4 | X | X | |||
| 10 | DC38586 | Support | 1 | X | X | |||
| key | PART NO. | PART NAME | QTY | SERIAL NO. | 540 | 545 | 550 | REMARKS | 
| 11 | DC28173 | Ramp | 1 | X | X | |||
| 12 | 19M7347 | Cap Screw | 1 | X | X | |||
| 13 | CE14925 | Spacer | 1 | X | X | |||
| 14 | DC28738 | Eyebolt | 1 | X | X | |||
| 15 | 24M7178 | Washer | 1 | X | X | |||
| 16 | 12M7013 | Lock Washer | 1 | X | X | |||
| 17 | 14M7167 | Lock Nut | 1 | X | X | |||
| 18 | DC38587 | Support | 1 | X | X | |||
| 19 | CC28725 | Bushing | 1 | X | X | |||
| 20 | 275SE | Compression Spring | 1 | X | X | |||
| key | PART NO. | PART NAME | QTY | SERIAL NO. | 540 | 545 | 550 | REMARKS | 
| 21 | CC28733 | Back-Up Ring | 1 | X | X | |||
| 22 | 24H1794 | Washer | 1 | X | X | |||
| 23 | 14M7260 | Nut | 1 | X | X | |||
| 24 | 03M7214 | Bolt | 4 | X | X | |||
| 25 | 24M7241 | Washer | 4 | X | X | |||
| 26 | CC30112 | Sheet | 1 | X | X | |||
| 27 | 03M7184 | Bolt | 2 | X | X | |||
| 28 | 14M7298 | Flange Nut | 2 | X | X | 
| key | PART NO. | PART NAME | QTY | SERIAL NO. | 540 | 545 | 550 | REMARKS | ||
|---|---|---|---|---|---|---|---|---|---|---|
| 1 | DC38588 | Bracket | 1 | X | ||||||
| 2 | 14M7168 | Lock Nut | 5 | X | ||||||
| 3 | DC33953 | Cable | 1 | X | ||||||
| 4 | CC33952 | Pulley | 2 | - | 295307 | |||||
| CC33952 | Pulley | 3 | 295308 | - | ||||||
| 5 | AZ35224 | Link Chain | 1 | X | ||||||
| 6 | Z43634 | Extension Spring | 1 | X | ||||||
| 7 | CC28081 | Strap | 1 | - | 295307 | |||||
| CC33732 | Strap | 1 | 295308 | - | ||||||
| 8 | CC28207 | Spacer | 1 | X | ||||||
| key | PART NO. | PART NAME | QTY | SERIAL NO. | 540 | 545 | 550 | REMARKS | ||
| 9 | 19M7171 | Cap Screw | 1 | X | ||||||
| 10 | 19M7268 | Cap Screw | 1 | X | ||||||
| 11 | 19M7273 | Cap Screw | 3 | X | ||||||
| 12 | DC30813 | Bracket | 1 | - | 295307 | |||||
| 13 | DC32856 | Pivot | 1 | X | ||||||
| 14 | 14M7298 | Flange Nut | AR | X | ||||||
| 15 | 14M7154 | Nut | 1 | X | ||||||
| 16 | 19M7073 | Cap Screw | 1 | X | ||||||
| 17 | 28H3376 | Spacer | 2 | X | ||||||
| 18 | 19M7182 | Cap Screw | 2 | X | ||||||
| key | PART NO. | PART NAME | QTY | SERIAL NO. | 540 | 545 | 550 | REMARKS | ||
| 19 | ...... | Pin | 1 | X | ||||||
| 20 | 14M7275 | Nut | 2 | X | ||||||
| 21 | DC38601 | Bracket | 1 | X | ||||||
| 22 | BP13695 | Washer | 1 | X | ||||||
| 23 | 19M7288 | Cap Screw | 1 | X | ||||||
| 24 | Z29332 | Eyebolt | 1 | X | ||||||
| 25 | CC32671 | Extension Spring | 1 | X | ||||||
| 26 | 34M7000 | Spring Pin | 1 | X | ||||||
| 27 | 19M7882 | Screw | 6 | X | ||||||
| 28 | 40M1821 | Snap Ring | 1 | X | ||||||
| key | PART NO. | PART NAME | QTY | SERIAL NO. | 540 | 545 | 550 | REMARKS | ||
| 29 | DC202245 | Ramp | 1 | X | ||||||
| 30 | H141836 | Bushing | 2 | X | ||||||
| 31 | CC33999 | Pulley | 1 | - | 295307 | |||||
| 32 | DC202818 | Package Of Parts | 1 | X | ||||||
| 33 | 03M7184 | Bolt | 2 | X | ||||||
| 34 | DC38589 | Bracket | 1 | X | ||||||
| 35 | CC32589 | Guide | 1 | X | ||||||
| 36 | CC32101 | Angle | 2 | X | ||||||
| 37 | CC32322 | Skid Plate | 2 | X | ||||||
| 38 | 03M7198 | Bolt | 8 | X | ||||||
| key | PART NO. | PART NAME | QTY | SERIAL NO. | 540 | 545 | 550 | REMARKS | ||
| 39 | 14M7299 | Flange Nut | 12 | X | ||||||
| 40 | DC33675 | Bracket | 1 | 295308 | - | |||||
| 41 | 24M7053 | Washer | 1 | 295308 | - | |||||
| 42 | 11M7087 | Cotter Pin | 1 | 295308 | - | |||||
| 43 | CC32705 | U-Bolt | 2 | 295308 | - | |||||
| 44 | 24M7047 | Washer | 3 | X | ||||||
| 45 | CC35846 | Clamp | 2 | X | 
| key | PART NO. | PART NAME | QTY | SERIAL NO. | 540 | 545 | 550 | REMARKS | ||
|---|---|---|---|---|---|---|---|---|---|---|
| 1 | 14H794 | Nut | 4 | 295308 | - | |||||
| 2 | AE47695 | Stud | 2 | 295308 | - | |||||
| 3 | CC33143 | Lock Washer | 4 | 295308 | - | |||||
| 4 | E78189 | Compression Spring | 2 | 295308 | - | |||||
| 5 | AJ10084 | Link Chain | 2 | 295308 | - | |||||
| 6 | E81492 | Pin | 2 | 295308 | - | |||||
| 7 | 11M7007 | Cotter Pin | 2 | 295308 | - | |||||
| 8 | 19M7286 | Cap Screw | 2 | 295308 | - | |||||
| 9 | 14M7165 | Lock Nut | 2 | 295308 | - | |||||
| 10 | AE48223 | Roller Chain | 2 | 295308 | - | |||||
| key | PART NO. | PART NAME | QTY | SERIAL NO. | 540 | 545 | 550 | REMARKS | ||
| 11 | AE47763 | Link Chain | 2 | 295308 | - | |||||
| 12 | 19M7867 | Screw | 12 | 295308 | - | |||||
| 13 | 14M7166 | Lock Nut | 12 | 295308 | - | |||||
| 14 | E78806 | Bushing | 4 | 295308 | - | |||||
| 15 | 19H2113 | Cap Screw | 2 | 295308 | - | |||||
| 16 | 24M7051 | Washer | 4 | 295308 | - | |||||
| 17 | AE47836 | Shock Absorber | 2 | 295308 | - | |||||
| 18 | 24H1399 | Washer | 4 | 295308 | - | |||||
| 19 | 19H1988 | Cap Screw | 2 | 295308 | - | |||||
| 20 | JD7844 | Lubrication Fitting | 6 | 295308 | - | |||||
| key | PART NO. | PART NAME | QTY | SERIAL NO. | 540 | 545 | 550 | REMARKS | ||
| 21 | AE47102 | Arm | 1 | 295308 | - | |||||
| AE47103 | Arm | 1 | 295308 | - | ||||||
| 22 | 24H1424 | Washer | 2 | 295308 | - | |||||
| 23 | M82222 | Lock Nut | 4 | 295308 | - | |||||
| 24 | AE47837 | Hook Bolt | 2 | 295308 | - | |||||
| 25 | L1592C | Extension Spring | 2 | 295308 | - | |||||
| 26 | 24H1161 | Washer | 4 | 295308 | - | |||||
| 27 | M88183 | Ring | 2 | 295308 | - | |||||
| 28 | R26810 | Pin Fastener | 2 | 295308 | - | |||||
| 29 | 14H794 | Nut | 4 | 295308 | - | |||||
| key | PART NO. | PART NAME | QTY | SERIAL NO. | 540 | 545 | 550 | REMARKS | ||
| 30 | CC33126 | Spacer | 2 | 295308 | - | |||||
| 31 | 24H1746 | Washer | 4 | 295308 | - | |||||
| 32 | E78188 | Spring | 2 | 295308 | - | |||||
| 33 | AE47104 | Frame | 2 | 295308 | - | |||||
| 34 | 03M7198 | Bolt | 8 | 295308 | - | |||||
| 35 | 14M7299 | Flange Nut | AR | 295308 | - | |||||
| 36 | AE47845 | Hook | 2 | 295308 | - | |||||
| 37 | 19M7268 | Cap Screw | 6 | 295308 | - | |||||
| 38 | E78813 | Strap | 4 | 295308 | - | |||||
| 39 | CC32802 | Chain Link | 2 | 295308 | - | |||||
| key | PART NO. | PART NAME | QTY | SERIAL NO. | 540 | 545 | 550 | REMARKS | ||
| 40 | CC32705 | U-Bolt | 4 | 295308 | - | |||||
| 41 | CC33436 | Angle | 2 | 295308 | - | |||||
| 42 | E70406 | Screw | 4 | 295308 | - | |||||
| 43 | CC32410 | Angle | 2 | 295308 | - | |||||
| 44 | Z29332 | Eyebolt | 2 | 295308 | - | 
| key | PART NO. | PART NAME | QTY | SERIAL NO. | 540 | 545 | 550 | REMARKS | ||
|---|---|---|---|---|---|---|---|---|---|---|
| 1 | 03M7199 | Bolt | 8 | 295308 | - | |||||
| 2 | E43961 | Bumper | 4 | 295308 | - | |||||
| 3 | 14M7299 | Flange Nut | 8 | 295308 | - | |||||
| 4 | AE47112 | Tube | 1 | 295308 | - | 
| key | PART NO. | PART NAME | QTY | SERIAL NO. | 540 | 545 | 550 | REMARKS | ||
|---|---|---|---|---|---|---|---|---|---|---|
| 1 | 19M7139 | Cap Screw | 1 | X | X | |||||
| 2 | 24M7036 | Washer | 2 | X | X | |||||
| 3 | 03M7191 | Bolt | 2 | X | X | |||||
| 4 | CC23721 | Holder | 1 | X | X | |||||
| 5 | 14M7274 | Nut | 2 | X | X | |||||
| 6 | 24M7085 | Washer | 2 | X | X | |||||
| 7 | CC23987 | Strap | 1 | X | X | |||||
| 8 | CC22725 | Lever | 2 | X | X | |||||
| 9 | CC25466 | Spacer | 1 | X | X | |||||
| 10 | 24M7207 | Washer | 1 | X | X | |||||
| key | PART NO. | PART NAME | QTY | SERIAL NO. | 540 | 545 | 550 | REMARKS | ||
| 11 | 19M7288 | Cap Screw | 1 | X | X | |||||
| 12 | 21M7022 | Screw | 4 | X | X | |||||
| 13 | CC25460 | Washer | 4 | X | X | |||||
| 14 | 24H1284 | Washer | 4 | X | X | |||||
| 15 | 14M7028 | Nut | 4 | X | X | |||||
| 16 | DC22731 | Cable | 2 | X | X | |||||
| 17 | BP13227 | Grommet | 2 | X | X | |||||
| 18 | CC20572 | U-Bolt | 2 | X | X | |||||
| 19 | ...... | Lock Nut | 4 | X | X | |||||
| 20 | AE41222 | Arm | 2 | - | 277364 | |||||
| key | PART NO. | PART NAME | QTY | SERIAL NO. | 540 | 545 | 550 | REMARKS | ||
| AE41222 | Arm | 2 | - | 278130 | ||||||
| 21 | 34M7029 | Spring Pin | 4 | - | XXXXXX | |||||
| 22 | 14M7166 | Lock Nut | 2 | X | X | |||||
| 23 | 14M7298 | Flange Nut | 8 | X | X | |||||
| 24 | M61130 | Spring | 2 | X | X | |||||
| 25 | 03M7187 | Bolt | 2 | X | X | |||||
| 26 | 03M7183 | Bolt | 6 | X | X | |||||
| 27 | 24H1871 | Washer | 4 | - | XXXX | |||||
| 28 | AE41224 | Bracket | 2 | - | 277364 | |||||
| AE41224 | Bracket | 2 | - | 278130 | ||||||
| key | PART NO. | PART NAME | QTY | SERIAL NO. | 540 | 545 | 550 | REMARKS | ||
| 29 | JD7844 | Lubrication Fitting | 2 | X | X | |||||
| 30 | AE45434 | Arm | 1 | - | 277364 | |||||
| AE45435 | Arm | 1 | - | 277364 | ||||||
| AE45434 | Arm | 1 | - | 278130 | ||||||
| AE45435 | Arm | 1 | - | 278130 | ||||||
| 31 | AE22485 | Cam Follower | 2 | 278131 | - | |||||
| AE22485 | Cam Follower | 2 | 277429 | - | ||||||
| 32 | AE11579 | Ball Bearing | 2 | - | 278130 | |||||
| AE11579 | Ball Bearing | 2 | - | 277428 | ||||||
| 33 | A4655R | Nut | 2 | X | X | |||||
| key | PART NO. | PART NAME | QTY | SERIAL NO. | 540 | 545 | 550 | REMARKS | ||
| 34 | DC57224 | Arm | 1 | 277365 | - | |||||
| DC57223 | Arm | 1 | 277365 | - | ||||||
| DC57224 | Arm | 1 | 278131 | - | ||||||
| DC57223 | Arm | 1 | 278131 | - | 
| key | PART NO. | PART NAME | QTY | SERIAL NO. | 540 | 545 | 550 | REMARKS | 
|---|---|---|---|---|---|---|---|---|
| 1 | DA19264 | Holder | 2 | X | X | X | ||
| 2 | AZ21944 | Chock Block | 2 | X | X | X | ||
| 3 | CC22745 | Bracket | 1 | X | X | X | ||
| 4 | 19M7162 | Cap Screw | 6 | X | X | X | ||
| 5 | 14M7273 | Nut | 6 | X | X | X | ||
| 6 | 03M7191 | Bolt | 2 | X | X | X | ||
| 7 | A41207 | Washer | 2 | X | X | X | ||
| 8 | 14M7274 | Nut | 2 | X | X | X | 
| key | PART NO. | PART NAME | QTY | SERIAL NO. | 540 | 545 | 550 | REMARKS | 
|---|---|---|---|---|---|---|---|---|
| 1 | ...... | Sealant | 1 | X | X | X | 
| key | PART NO. | PART NAME | QTY | SERIAL NO. | 540 | 545 | 550 | REMARKS | ||
|---|---|---|---|---|---|---|---|---|---|---|
| 1 | 14M7025 | Wing Nut | 1 | X | ||||||
| 2 | 24M7101 | Washer | 1 | X | ||||||
| 3 | CC35398 | Cam | 1 | X | ||||||
| 4 | CC31463 | Spacer | 1 | - | 295307 | |||||
| CC33298 | Spacer | 1 | 295308 | - | ||||||
| 5 | 24M7042 | Washer | 1 | X | ||||||
| 6 | 03M7218 | Bolt | 1 | X | ||||||
| 7 | 21H1348 | Screw | 2 | X | ||||||
| 8 | AE48968 | Switch | 1 | X | ||||||
| 9 | E71183 | Strap | 1 | X | ||||||
| key | PART NO. | PART NAME | QTY | SERIAL NO. | 540 | 545 | 550 | REMARKS | ||
| 10 | CC36906 | Bracket | 1 | X | ||||||
| 11 | 19M7077 | Cap Screw | 1 | X | ||||||
| 12 | 24M7139 | Washer | 1 | X | ||||||
| 13 | 14M7272 | Nut | 1 | X | ||||||
| 14 | AE51068 | Solenoid Valve | 1 | 295308 | - | |||||
| 15 | DC36892 | Valve Spool | 1 | 295308 | - | |||||
| 16 | RE12363 | Elec. Connector Terminal | 1 | 295308 | - | |||||
| 17 | R78060 | Elec. Connector Terminal | 2 | 295308 | - | |||||
| 18 | Z44689 | Elec. Connector Seal | 2 | 295308 | - | |||||
| 19 | AE49607 | Wiring Harness | 1 | X | 
| key | PART NO. | PART NAME | QTY | SERIAL NO. | 540 | 545 | 550 | REMARKS | 
|---|---|---|---|---|---|---|---|---|
| 1 | DC35556 | Hook | 1 | X | ||||
| DC35499 | Hook | 1 | X | |||||
| 2 | DC35604 | Ball Bearing | 2 | X | ||||
| 3 | AE42746 | Pin | 2 | X | ||||
| 4 | CC35432 | Eyebolt | 2 | X | ||||
| 5 | CC35435 | Washer | 2 | X | ||||
| 6 | CC31300 | Compression Spring | 2 | X | ||||
| 7 | CC35431 | Spacer | 2 | X | ||||
| 8 | 40M7080 | Snap Ring | 2 | X | ||||
| 9 | 14M7260 | Nut | 2 | X | ||||
| key | PART NO. | PART NAME | QTY | SERIAL NO. | 540 | 545 | 550 | REMARKS | 
| 10 | 14M7276 | Nut | 4 | X | ||||
| 11 | 19M7163 | Cap Screw | 2 | X | ||||
| 12 | 14M7298 | Flange Nut | 2 | X | ||||
| 13 | 24M7053 | Washer | 2 | X | ||||
| 14 | 19M7790 | Screw | 2 | X | ||||
| 15 | CC36905 | Spacer | 2 | X | 
| key | PART NO. | PART NAME | QTY | SERIAL NO. | 540 | 545 | 550 | REMARKS | 
|---|---|---|---|---|---|---|---|---|
| 1 | CC31115 | Label | 2 | X | X | X | ||
| 2 | CC27186 | Label | 1 | X | X | X | ||
| 3 | E75115 | Label | 1 | X | ||||
| 4 | E70645 | Label | 1 | X | ||||
| 5 | E71445 | Label | 1 | X | X | |||
| 6 | E70667 | Label | 1 | X | ||||
| 7 | CC23762 | Label | 1 | X | 
| key | PART NO. | PART NAME | QTY | SERIAL NO. | 540 | 545 | 550 | REMARKS | 
|---|---|---|---|---|---|---|---|---|
| 1 | CC30084 | Label | 2 | X | ||||
| 2 | CC30082 | Label | 2 | X | ||||
| 3 | CC30085 | Label | 2 | X | ||||
| 4 | CC30083 | Label | 2 | X | ||||
| 5 | CC30089 | Label | 2 | X | ||||
| 6 | CC30088 | Label | 2 | X | ||||
| 7 | CC30090 | Label | 2 | X | X | X | ||
| 8 | CC30091 | Label | 2 | X | X | X | 
| key | PART NO. | PART NAME | QTY | SERIAL NO. | 540 | 545 | 550 | REMARKS | 
|---|---|---|---|---|---|---|---|---|
| 1 | CC20761 | Label | 1 | X | X | X | ||
| CC20763 | Label | 1 | X | |||||
| CC20762 | Label | 1 | X | X | ||||
| 2 | CC17731 | Label | 1 | X | ||||
| 3 | Z60331 | Label | 1 | X | X | X | ||
| 4 | E65587 | Label | 6 | X | ||||
| 5 | CC41112 | Safety Sign | 1 | X | ||||
| 6 | E69889 | Instructions | 1 | X | X | X | ||
| 7 | CC41110 | Safety Sign | 1 | X | X | X | ||
| 8 | CC41111 | Label | 1 | X | X | X | 
| key | PART NO. | PART NAME | QTY | SERIAL NO. | 540 | 545 | 550 | REMARKS | 
|---|---|---|---|---|---|---|---|---|
| 1 | CC31657 | Label | 1 | X | X | |||
| 2 | E79357 | Label | 1 | X | X | |||
| 3 | E79633 | Label | 1 | X | X | |||
| 4 | CC41113 | Safety Sign | 2 | X | X | |||
| 5 | CC40737 | Label | 1 | X | X | |||
| 6 | CC21194 | Safety Sign | 1 | X | 
 
  
  
  
  
  
  
  
  
  
  
  
  
  
  
  
  
  
  
  
  
  
  
  
  
  
  
  
  
  
  
  
  
  
  
  
  
  
  
  
  
  
  
  
  
  
  
  
  
  
  
  
 